INFORMATION

新闻资讯

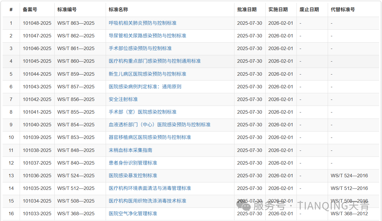
院感防控进入新纪元:卫健委发布《国卫通〔2025〕9号》公告,16项新标准重磅出台

2025年09月08日 6分钟的阅读时间 天青环保

PART.01

新标准核心内容



微信图片_2025-09-08_134441_274.png


空气净化:动态监测与分级管理

医院空气净化管理标准》(WS/T368-2025)首次提出「呼吸道传染病风险评估」机制,要求医疗机构根据不同科室风险等级选择空气净化措施。例如:


1、高风险区域(如手术室、ICU)需每日通风至少2次,每次30分钟,并安装实时监测设备;

2、空调系统需严格遵循「排风口高于进风口6米」的物理隔离原则,避免交叉污染;

3、空气消毒机需符合WS/T648医用级标准,高风险区域每季度需检测空气细菌数。



医用织物:全流程量化管控

《医疗机构医用织物洗涤消毒技术标准》(WS/T508-2025)针对感染源控制提出量化指标:


1、洗涤流程需明确消毒剂浓度(如含氯消毒剂有效氯浓度≥250mg/L);

2、清洁织物菌落总数需≤200CFU/100cm²,金黄色葡萄球菌等致病菌不得检出;

3、感染性织物需采用「先消毒后洗涤」模式,避免二次污染。



手术部位感染:实时监测与行为规范

《手术部位感染预防与控制标准》(WS/T861-2025)首次将手术室空气质量纳入实时监测范围:


1、术中人员流动需严格限制,非必要人员不得进入手术区域;

2、空气监测数据需与医院感染管理系统联动,异常时自动预警;

3、术后伤口评估引入多模态智能监测技术,结合患者报告与图像分析提升诊断效率。


国家卫健委相关负责人表示,旧标准在空气净化设备管理、织物洗涤流程等环节存在指标模糊、更新滞后等问题,已难以适应当前医疗机构感染防控需求。新标准的出台,将推动全国医疗机构建立更科学、更精准的感染控制体系。


PART.02

新标准更新的重要意义



医院感染(Healthcare-Associated Infections, HAIs)是全球公共卫生领域的重大挑战。根据世界卫生组织(WHO)的数据,全球约有7%的住院患者会发生医院感染,在部分中低收入国家,这一比例甚至高达15%以上。医院感染不仅增加患者痛苦和医疗成本,还可能引发严重的公共卫生事件。近年来,随着新型病原体的出现(如COVID-19病毒、多重耐药菌等),以及医疗环境的复杂化,原有感染控制标准已显不足。

微信图片_2025-09-08_134448_418.png

本次标准升级的意义远超技术层面,其影响体现在以下方面:

防控能力

通过细化空气净化、环境消毒等操作规范,有效降低院内交叉感染风险,尤其在呼吸道传染病高发季节能更好地保障患者安全。

行业行为

统一全国医疗机构感染控制标准,解决地区间、机构间管理差异问题,促进医疗服务同质化。

技术创新

鼓励医疗机构采用智能监测设备、高效过滤系统等新技术,助力智慧医院建设。

微信图片_2025-09-08_134503_978.jpg




PART.03

等离子体空气消毒器与新标准



01

TIANQING

等离子体空气消毒器因其技术特性,与新标准高度契合

技术原理优势

等离子体消毒通过高压电场产生高活性粒子(如羟基自由基),可破坏病原体的蛋白质结构与遗传物质,实现广谱灭菌。其对细菌、病毒的灭活效率可达99.99%,且作用时间短(秒级),优于传统的紫外线和化学喷雾方式。


人机共存与安全性

等离子体空气消毒器工作时臭氧浓度低于0.1mg/m³(符合国标GB28232-2020),可在有人环境下连续运行。此外,无辐射泄漏风险,适用于手术室、病房等敏感场景。


智能化与集成化潜力

等离子体设备可集成传感器与物联网模块,实时监测空气质量并自动调整运行模式。例如,在人员密集时启动高强度模式,平时保持低功耗背景消毒,契合新标准对“动态消毒”的要求。


环境友好性

等离子体消毒不产生化学残留物,且能耗较低(功率通常为50-200W),符合绿色医疗理念。

微信图片_2025-09-08_134512_688.png




等离子体空气消毒器在医院感染控制中的应用价值

基于新标准要求,等离子体空气消毒器可在以下场景发挥关键作用:


高危区域空气动态消毒

在ICU、手术室、产房等部门,等离子体设备可嵌入空调系统或独立部署,实现24小时不间断消毒,降低手术切口感染和呼吸道感染风险。


应对突发传染病疫情

在发热门诊、隔离病房等场所,等离子体设备可快速灭活空气中的病毒气溶胶,弥补通风系统不足。其移动式设计还可用于临时隔离点的快速部署。


多重耐药菌传播阻断

多重耐药菌(如MRSA)的传播途径包括空气沉降,等离子体技术可有效杀灭悬浮菌尘,减少交叉感染。


医疗设备消毒延伸应用

部分等离子体设备还可用于器械表面消毒(如内窥镜、呼吸机管路),形成“空气-物体表面”一体化消毒方案。

微信图片_2025-09-08_134533_867.jpg

02

TIANQING



03

TIANQING

挑战与未来发展方向

尽管等离子体技术优势显著,但其推广应用仍面临挑战:


1、成本与认知门槛:设备单价高于传统紫外线灯,部分医院采购意愿不足。

2、标准细化待完善:新标准未明确等离子体技术的具体参数阈值,需进一步制定细分规范。

3、技术优化需求:如何平衡灭菌效率与臭氧生成量仍是技术难点。


未来,等离子体空气消毒器的发展应聚焦以下方向:


1、与AIoT技术深度融合,实现预测性消毒与能源管理优化;

2、开发微型化、低成本产品,拓宽社区医疗与家庭应用场景;

3、加强临床有效性验证,通过真实世界研究(RWS)数据证明其感染控制价值。

微信图片_2025-09-08_134544_432.jpg




图片

结语

BACKGROUND

图片


卫健委此次医院感染控制标准的全面升级,既是应对公共卫生挑战的必要之举,也是推动医疗技术进步的催化剂。等离子体空气消毒器作为符合新标准要求的高效技术手段,有望成为医院感染控制体系的核心组成部分。通过技术创新与标准实施的协同,我们有望构建更安全、智能、绿色的医疗环境,最终实现“零感染”的理想目标。